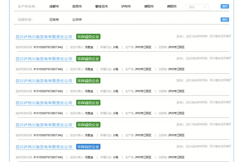
近日,从四川省生态环境厅发布的四川省级2021年度企业环境信用评价结果公告中获悉,川南发电公司获评四川省2021年度“环保诚信企业”,同时也是四川省300MW及以上的火力发电企业中唯一连续五年获评该称号的企业。
按照《中共中央办公厅 国务院办公厅关于推进社会信用体系建设高质量发展 促进形成新发展格局的意见》《国务院办公厅关于加快推进社会信用体系建设 构建以信用为基础的新型监管机制的指导意见》《四川省环境保护条例》有关规定,四川省生态环境厅组织开展了2021年度省级环境信用评价评选工作。先后历经参评企业申报自评,省、市、县三级审核,初评结果对外公示,企业申诉复核和现场抽查核实等程序后,形成评价结果。目前,省级2021年度企业环境信用评价结果已经生态环境厅第5次厅务会审议通过后正式对外公布。
今年以来,川南发电公司全面落实企业环保主体责任,通过不断完善环保管理制度、加强环保设施运维管理、坚持环保设施24小时巡回检查、落实环保措施执行力度的同时,进一步加大固体废物、环保风险管理、环保监督检查、环保管理知识培训及宣传等工作,坚持用行动证明,用数据说话,不断提高公司环保工作水平。公司环保工作取得了明显成效,全年废气污染物稳定实现超低排放。“环保诚信企业”称号的连续获得,是上级生态环境主管部门对公司环保工作的充分肯定。公司将严格遵守环保法律法规,并以建设环境友好型企业为目标,秉持“科学发展、绿色发展”理念,为打赢蓝天保卫战作出更大贡献。







